Small temperature and humidity sensor adopts a high-precision optical chilled mirror principle to directly measure environmental temperature and humidity with exceptional accuracy and long-term stability. It features an automatic equilibrium system for fast response and consistent performance, while its advanced semiconductor mirror design ensures excellent resistance to high and low temperatures, corrosion, and contamination. Equipped with a platinum resistance temperature element, SUCH temperature and humidity sensor guarantees precise and reliable readings. Supporting standard Modbus RTU communication, it allows seamless real-time data transmission, recording, and monitoring through computer software or host display, making it ideal for applications requiring high accuracy and stability in demanding environments.
Feature

- High-Precision Optical Chilled Mirror Principle: Adopts an optical chilled mirror measurement method that directly measures temperature and humidity with high precision, ensuring excellent repeatability and long-term stability.
- Accurate & Reliable Measurement: Small temperature and humidity sensor provides precise temperature and humidity readings along with various derived parameters, offering superior accuracy, visibility, and reliability compared to traditional capacitive or resistive sensors.
- Automatic Equilibrium System: Equipped with an automatic balancing system featuring a short preheating time and fast response speed, ensuring quick stabilization and consistent performance during operation.
- Modbus RTU Communication: Supports standard Modbus RTU communication, allowing seamless data transmission to computer systems for data recording and graphical display, or optional host display for real-time monitoring.
- Advanced Semiconductor Mirror Design: The chilled mirror surface is processed using advanced semiconductor techniques, providing excellent resistance to high and low temperatures, corrosion, and contamination.
- High-Accuracy Platinum Resistance Measurement: Utilizes a precision platinum resistance thermometer for temperature detection, achieving long-term stability and exceptional measurement accuracy.
Dimension (Unit:mm)

Sensor Principle
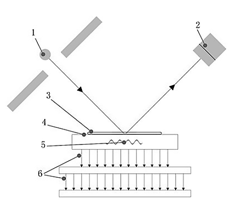
The working principle of the optical mirror-type sensor core structure is illustrated as follows:

- The light-emitting diode (1) provides a constant-intensity incident light beam, which is directed onto the chilled mirror (4).
- The photodiode (2) measures the intensity of the light reflected from the chilled mirror surface.
- Based on the output signal from the photodiode, the system controls the thermoelectric cooling module (6) to either heat or cool the chilled mirror in order to maintain a stable condensation layer thickness (3) on its surface. The system automatically adjusts until the condensation layer reaches a preset stable thickness.
- When equilibrium is achievedāmeaning the evaporation rate equals the condensation rateāthe platinum resistance thermometer (5) embedded in the chilled mirror measures the surface temperature of the mirror, representing the dew point temperature.
Under standard atmospheric pressure, by measuring the ambient temperature and performing calculations, parameters such as relative humidity, absolute humidity, water activity, and enthalpy of moist air can be accurately derived.
Detail

Sensor Interface
ā and ā” are RS485-A/B communication terminals, using the standard Modbus RTU communication protocol.
⢠and ⣠are GND and +5V power supply terminals, requiring a 5Vā5.5V / 1A power supply (as shown in the figure below).
